U.P Board Class 10 Science 824 (IM) Question Paper 2024 का उत्तर आप यहाँ से प्राप्त कर सकते हैं। जिसका कोई भी शुल्क आपसे नहीं लिया जायेगा। आइये विस्तार से सभी प्रश्नो को जानते हैं।
सत्र – 2024
विज्ञान
समय: तीन घण्टे 15 मिनट पूर्णांक: 70
नोट : प्रारम्भ के 15 मिनट परीक्षार्थियों को प्रश्नपत्र पढ़ने के लिए निर्धारित हैं।
निर्देश:
i) प्रश्नपत्र दो खण्डों – खण्ड-अ तथा खण्ड-ब में विभाजित है।
ii) खण्ड-अ तथा खण्ड-ब तीन उपभागों – उपभागों (1), (2), (3) में विभाजित हैं।
iii) प्रश्नपत्र के खण्ड-अ में बहुविकल्पीय प्रश्न हैं जिनमें सही विकल्प का चुनाव कर ओ०एम०आर० उत्तर पत्रक पर नीले अथवा काले बॉल प्वाइंट पेन से सही विकल्प वाले गोले को पूर्ण रूप से भरें। ओ० एम० आर० उत्तर पत्रक पर उत्तर देने के पश्चात उसे नहीं काटें तथा इरेजर अथवा ह्राइटनर का प्रयोग न करें।
iv) खण्ड-अ में बहुविकल्पीय प्रश्न हेतु प्रत्येक प्रश्न के लिए 1 अंक निर्धारित है।
v) खण्ड-ब में वर्णनात्मक प्रश्न हैं।
vi) प्रत्येक प्रश्न के सम्मुख उनके निर्धारित अंक दिये गये हैं।
vii) खण्ड-ब के प्रत्येक उपभाग के सभी प्रश्न एक साथ करना आवश्यक है। प्रत्येक उपभाग नए पृष्ठ से प्रारम्भ किया जाए।
viii) सभी प्रश्न अनिवार्य हैं।
खण्ड अ (बहुविकल्पीय प्रश्न)
उपभाग (1)
1. किसी अवतल दर्पण पर आपतित प्रकाश किरण दर्पण से परावर्तन के उपरान्त अपने ही मार्ग से वापस आ जाती है। यह किरण मुख्य अक्ष का परिच्छेदन करती है-
(A) फोकस पर
(B) फोकस एवं ध्रुव के मध्य में
(C) वक्रता केन्द्र पर
(D) अनन्त पर
Ans. (C) वक्रता केन्द्र पर
2. एक लेंस वस्तु के स्थिति विशेष के लिए आभासी, सीधा तथा आवर्धित प्रतिबिम्ब बनाता है। लेंस होगा-
(A) अवतल
(B) उत्तल
(C) समतल अवतल
(D) इनमें से कोई नहीं
Ans. (B) उत्तल
3. नेत्र लेंस की फोकस दूरी में परिवर्तन किया जाता है-
(A) पुतली द्वारा
(B) दृष्टि पटल द्वारा
(C) परितारिका द्वारा
(D) पक्ष्माभी मांसपेशियों द्वारा
Ans. (D) पक्ष्माभी मांसपेशियों द्वारा
4. स्वच्छ आकाश के नीले रंग के लिए उत्तरदायी प्रकाशकीय घटना है-
(A) अपवर्तन
(B) प्रकीर्णन
(C) विवर्तन
(D) परावर्तन
Ans. (B) प्रकीर्णन
5. किसी बिद्युत बल्ब पर 440 वाट, 220 वोल्ट अंकित है। बल्ब फिलामेंट का प्रतिरोध होगा-
(A) 100 ओम
(B) 225 ओम
(C) 115 ओम
(D) 110 ओम
Ans. (D) 110 ओम
6. विद्युत परिपथ में प्रयुक्त होने वाले कुछ अवयवों के संकेत चिह्न स्तम्भ में दिये गये हैं। स्तम्भ B में दिये गये नामों से सुमेलन कर सही विकल्प का चयन कीजिए:

(A) (1)-(iii), (2)-(iv), (3)-(ii), (4)-(i)
(B) (1)-(iii), (2)-(ii), (3)-(iv), (4)-(i)
(C) (1)-(ii), (2)-(iii), (3)-(iv), (4)-(i)
(D) (1)-(iii), (2)-(ii), (3)-(i), (4)-(iv)
Ans. (A) (1)-(iii), (2)-(iv), (3)-(ii), (4)-(i)
7. किसी धारावाही परिनालिका को स्वतंत्रतापूर्वक लटकाने पर सदैव स्थिर होगी-
(A) पूर्व-पश्चिम में
(B) उत्तर-पूर्व में
(C) उत्तर-दक्षिण में
(D) किसी भी दिशा में
Ans. (C) उत्तर-दक्षिण में
8. निम्नलिखित में कौन-सी धातु कमरे के ताप पर ठोस अवस्था में नहीं होती है ?
(A) मैग्निशियम
(B) मर्करी
(C) कापर
(D) एलुमिनियम
Ans. (B) मर्करी
9. अम्ल एवं क्षारक की अभिक्रिया से प्राप्त होता है-
(A) हाइड्रोजन
(B) ऑक्सीजन
(C) क्लोरीन
(D) लवण तथा जल
Ans. (D) लवण तथा जल
10. निम्नलिखित अभिक्रिया
CaCO3 (s) ऊष्मा → Cao (s) + CO2 (g) उदाहरण है
(A) विस्थापन अभिक्रिया का
(B) द्विविस्थापन अभिक्रिया का
(C) अपघटन अभिक्रिया का
(D) संयोजन अभिक्रिया का
Ans. (C) अपघटन अभिक्रिया का
11. श्रृंखलन का गुण किस परमाणु में पाया जाता है ?
(A) C
(B) N
(C) Ο
(D) F
Ans. (A) C
12. निम्नलिखित में एल्काईन है-
(A) CH3-CH=CH2
(B) CH3-C≡C-H
(C) CH2=CH2
(D) CH3-CH2-CH3
Ans. (B) CH3-C≡C-H
13. ईंधन एवं औषधियों के रूप में उपयोग होता है-
(A) एथेनाल
(B) एथेन
(C) एथेनोइक अम्ल
(D) प्रोपेन
Ans. (D) प्रोपेन
उपभाग (3)
14. गुर्दे की इकाई जो उत्सर्जन की प्रक्रिया में भाग लेती है, है-
(A) तंत्रिका (न्यूरॉन)
(B) वृक्काणु (नेफ्रान)
(C) साइटान
(D) म्यूटान
Ans. (B) वृक्काणु (नेफ्रान)
15. पौधों में जाइलम किसके लिए उत्तरदायी है ?
(A) जल का वहन
(B) भोजन का वहन
(C) अमीनो अम्लों का वहन
(D) ऑक्सीजन का वहन
Ans. (A) जल का वहन
16. स्वपोषी पोषण के लिए आवश्यकता होती है-
(A) कार्बन डाइऑक्साइड और जल की
(B) क्लोरोफिल की
(C) सूर्य का प्रकाश की
(D) इनमें से सभी
Ans. (D) इनमें से सभी
17. ऑक्सीजन की उपस्थिति में पाइरुवेट का ऑक्सीकरण कोशिका के किस भाग में होता है ?
(A) कोशिका द्रव्य
(B) केन्द्रक
(C) माइटोकाण्ड्रिया
(D) अंतःदव्यी जालिका
Ans. (C) माइटोकाण्ड्रिया
18. मेण्डल ने अपना प्रयोग किया था-
(A) वंशागत गुणों के अध्ययन के लिए
(B) मटर के उत्पादन के लिए
(C) चावल के उत्पादन के लिए
(D) गेहूँ के उत्पादन के लिए
Ans. (A) वंशागत गुणों के अध्ययन के लिए
19. निम्नलिखित में से कौन ओजोन परत क्षरण के लिए जिम्मेदार मुख्य पदार्थ है ?
(A) क्लोरोफ्लोरोकार्बन (CFC)
(B) कार्बन डाइऑक्साइड (CO₂)
(C) कार्बन मोनोऑक्साइड (CO)
(D) नाइट्रिक अम्ल (HNO3)
Ans. (A) क्लोरोफ्लोरोकार्बन (CFC)
20. निम्न में से कौन आहार श्रृंखला का निर्माण करते हैं ?
(A) घास, गेहूँ तथा आम
(B), घास, बकरी तथा मानव
(C) बकरी, गाय तथा हाथी
(D) घास, मछली तथा हाथी
Ans. (B), घास, बकरी तथा मानव
खण्ड – ब (वर्णनात्मक प्रश्न)
उपभाग (1)
1. (i) प्रकाश अपवर्तन की घटना को समझाइए।
Ans. जब प्रकाश किरण एक माध्यम से दूसरे माध्यम (जैसे—वायु से जल या काँच) में प्रवेश करती है, तो उसकी गति में परिवर्तन हो जाता है। गति बदलने के कारण प्रकाश किरण की दिशा भी बदल जाती है। प्रकाश की इस दिशा-परिवर्तन की घटना को प्रकाश का अपवर्तन कहते हैं।
अपवर्तन इसलिए होता है क्योंकि अलग-अलग माध्यमों में प्रकाश की चाल भिन्न-भिन्न होती है।
उदाहरण :
- पानी में डाली गई पेंसिल टेढ़ी दिखाई देती है।
- सिक्का पानी में वास्तवित गहराई से ऊपर उठा हुआ दिखाई देता है।
यही घटनाएँ प्रकाश अपवर्तन के कारण होती हैं।
(ii) नेत्र के दीर्घ-दृष्टि दोष तथा इसके संशोधन पर संक्षिप्त टिप्पणी लिखिए।
Ans. दीर्घ-दृष्टि दोष वह नेत्र-दोष है जिसमें व्यक्ति निकट की वस्तुओं को स्पष्ट नहीं देख पाता, जबकि दूर की वस्तुएँ साफ दिखाई देती हैं। इस दोष में पास की वस्तु का प्रतिबिम्ब रेटिना के पीछे बनता है।
कारण :
- नेत्रगोलक का सामान्य से छोटा होना।
- नेत्र लेंस की फोकस दूरी का बढ़ जाना।
संशोधन :
इस दोष को दूर करने के लिए उपयुक्त उत्तल (Convex) लेंस का प्रयोग किया जाता है। उत्तल लेंस प्रकाश किरणों को पहले ही अभिसरित कर देता है, जिससे प्रतिबिम्ब रेटिना पर बन जाता है और व्यक्ति पास की वस्तुएँ स्पष्ट देख पाता है।
2. (i) उत्तल दर्पण की फोकस दूरी के लिए सूत्र लिखिए। उत्तल दर्पण के कोई दो उपयोग लिखिए।
Ans. उत्तल दर्पण की फोकस दूरी का सूत्र :
उत्तल दर्पण में फोकस दूरी और वक्रता त्रिज्या के बीच संबंध होता है –
उत्तल दर्पण के दो उपयोग :
- वाहनों में रियर-व्यू मिरर के रूप में, क्योंकि यह विस्तृत क्षेत्र का दृश्य दिखाता है।
- दुकानों, बैंकों एवं चौराहों पर सुरक्षा दर्पण के रूप में, जिससे अधिक क्षेत्र पर निगरानी रखी जा सके।
(ii) 2 सेमी लम्बी वस्तु 20 सेमी फोकस दूरी के उत्तल लेंस के सम्मुख मुख्य अक्ष के लम्बवत् रखी है। लेंस से वस्तु की दूरी 30 सेमी है। प्रतिबिम्ब की स्थिति तथा प्रकृति ज्ञात कीजिए।
Ans. दिया गया है :
वस्तु की ऊँचाई,
उत्तल लेंस की फोकस दूरी,
वस्तु की दूरी,
(कार्तीय संकेत पद्धति के अनुसार)
सूत्र :
मान रखने पर,
निष्कर्ष :
- प्रतिबिम्ब की स्थिति : लेंस के दूसरी ओर, 12 सेमी दूरी पर।
- प्रतिबिम्ब की प्रकृति : आभासी, सीधा तथा आवर्धित।
अतः उत्तल लेंस द्वारा बना प्रतिबिम्ब लेंस के उसी ओर आभासी रूप में प्राप्त होता है।
3. (i)किसी चुम्बकीय क्षेत्र में धारावाही चालक पर लगने वाला बल किन-किन कारकों पर निर्भर करता है ?
Ans. जब किसी चालक में विद्युत धारा प्रवाहित की जाती है और उसे चुम्बकीय क्षेत्र में रखा जाता है, तो चालक पर एक चुम्बकीय बल कार्य करता है। यह बल निम्नलिखित कारकों पर निर्भर करता है—
- धारा की तीव्रता (I)
चालक में प्रवाहित धारा जितनी अधिक होगी, चालक पर लगने वाला बल उतना ही अधिक होगा। - चुम्बकीय क्षेत्र की तीव्रता (B)
चुम्बकीय क्षेत्र जितना अधिक शक्तिशाली होगा, चालक पर लगने वाला बल भी उतना अधिक होगा। - चुम्बकीय क्षेत्र में चालक की प्रभावी लम्बाई (l)
चुम्बकीय क्षेत्र के भीतर चालक की जितनी अधिक लम्बाई होगी, बल का मान उतना अधिक होगा। - धारा की दिशा और चुम्बकीय क्षेत्र की दिशा के बीच का कोण (θ)
जब चालक चुम्बकीय क्षेत्र के लम्बवत् रखा जाता है, तब चालक पर लगने वाला बल अधिकतम होता है और जब दोनों समानान्तर होते हैं, तब बल शून्य होता है।
इस प्रकार, चुम्बकीय क्षेत्र में धारावाही चालक पर लगने वाला बल इन सभी कारकों पर निर्भर करता है।
(ii) चुम्बक तथा धारावाही परिनालिका में अंतर स्पष्ट कीजिए।
Ans. चुम्बक तथा धारावाही परिनालिका में अंतर-
| चुम्बक | धारावाही परिनालिका |
|---|---|
| यह एक स्थायी चुम्बकीय पदार्थ होता है। | यह अस्थायी चुम्बक की तरह कार्य करती है। |
| इसमें बिना धारा के भी चुम्बकीय गुण पाए जाते हैं। | इसमें धारा प्रवाहित होने पर ही चुम्बकीय गुण उत्पन्न होते हैं। |
| इसके ध्रुवों की दिशा स्थिर रहती है। | धारा की दिशा बदलने पर इसके ध्रुव भी बदल जाते हैं। |
| इसकी चुम्बकीय शक्ति निश्चित होती है। | इसकी चुम्बकीय शक्ति धारा बदलकर बढ़ाई या घटाई जा सकती है। |
| उदाहरण – छड़ चुम्बक | उदाहरण – विद्युत चुम्बक, कुंडली |
4. (i) धारावाही चालक से सम्बद्ध चुम्बकीय क्षेत्र की दिशा ज्ञात करने के लिए दक्षिण-हस्त अंगुष्ठ नियम लिखिए। सीधे धारावाही चालक द्वारा उत्पन्न चुम्बकीय क्षेत्र रेखाओं को दर्शाइए।
Ans. दक्षिण-हस्त अंगुष्ठ नियम :
यदि किसी सीधे धारावाही चालक को दाएँ (दक्षिण) हाथ में इस प्रकार पकड़ा जाए कि अंगूठा विद्युत धारा की दिशा में संकेत करे, तो मुठ्ठी की मुड़ी हुई उँगलियाँ चालक के चारों ओर उत्पन्न चुम्बकीय क्षेत्र रेखाओं की दिशा बताती हैं।
इस नियम की सहायता से धारावाही चालक के चारों ओर चुम्बकीय क्षेत्र की दिशा ज्ञात की जाती है।
सीधे धारावाही चालक द्वारा उत्पन्न चुम्बकीय क्षेत्र रेखाएँ :
- सीधे धारावाही चालक के चारों ओर समकेन्द्रीय वृत्तों के रूप में चुम्बकीय क्षेत्र रेखाएँ बनती हैं।
- चालक के निकट क्षेत्र रेखाएँ अधिक सघन होती हैं, जिससे क्षेत्र अधिक प्रबल होता है।
- चालक से दूरी बढ़ने पर क्षेत्र रेखाओं की सघनता कम हो जाती है।
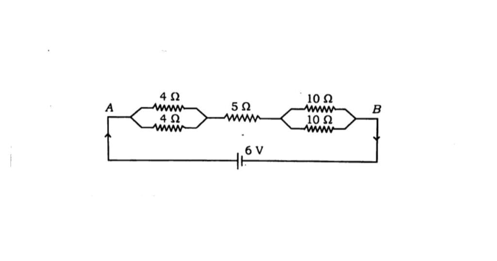
(ii) दिये गये परिपथ में A एवं B के बीच तुल्य प्रतिरोध तथा 5 प्रतिरोध के सिरों के बीच विभवांतर की गणना कीजिए।

Ans. परिपथ का विश्लेषण :
- A के पास दो 4 Ω प्रतिरोध समांतर में हैं
- B के पास दो 10 Ω प्रतिरोध समांतर में हैं
- ये दोनों समतुल्य प्रतिरोध 5 Ω प्रतिरोध के साथ श्रृंखला में हैं।
(i) A और B के बीच तुल्य प्रतिरोध
(ii) 5 Ω प्रतिरोध के सिरों के बीच विभवांतर
दिया गया विभव = 6 V
परिपथ में धारा,
5 Ω प्रतिरोध के सिरों के बीच विभवांतर,
अथवा
(i) वैद्युत परिपथों में फ्यूज का क्या महत्व है? किसी मकान में कुल अधिभार 2200 W है। विद्युत की आपूर्ति 220 V पर की जाती है। मकान में प्रयुक्त फ्यूज का अनुमतांक क्या होना चाहिए ? विद्युत ऊर्जा का व्यापारिक मात्रक लिखिए।
Ans. फ्यूज एक सुरक्षा उपकरण है, जो वैद्युत परिपथ को अधिभार (Overload) या लघुपथन (Short Circuit) की स्थिति में होने वाली क्षति से बचाता है। जब परिपथ में धारा निर्धारित सीमा से अधिक हो जाती है, तब फ्यूज तार पिघलकर परिपथ को तोड़ देता है, जिससे उपकरण सुरक्षित रहते हैं और आग लगने की संभावना नहीं रहती।
दिया गया :
कुल अधिभार,
आपूर्ति वोल्टता,
सूत्र :
अतः मकान में प्रयुक्त फ्यूज का अनुमतांक = 10 ऐम्पियर (10 A) होना चाहिए।
विद्युत ऊर्जा का व्यापारिक मात्रक :
विद्युत ऊर्जा का व्यापारिक मात्रक किलोवाट-घण्टा (kWh) होता है, जिसे सामान्य भाषा में एक यूनिट कहा जाता है।
(ii) घरेलू विद्युत परिपथ में प्रयुक्त तारों के नाम तथा आवरण तारों के रंग लिखिए।
Ans. घरेलू विद्युत परिपथ में सामान्यतः तीन प्रकार के तार प्रयुक्त होते हैं—
- फेज (Live) तार
- कार्य : विद्युत धारा उपकरण तक पहुँचाता है।
- आवरण का रंग : लाल (कभी-कभी भूरा)
- न्यूट्रल (Neutral) तार
- कार्य : धारा को वापस स्रोत तक ले जाता है।
- आवरण का रंग : काला (कभी-कभी नीला)
- अर्थ (Earth) तार
- कार्य : उपकरणों को झटके से बचाने हेतु सुरक्षा प्रदान करता है।
- आवरण का रंग : हरा या हरा-पीला
इस प्रकार घरेलू विद्युत परिपथ में फेज, न्यूट्रल तथा अर्थ तार प्रयुक्त होते हैं, जिनके आवरण के रंग निश्चित होते हैं।
उपभाग (2)
5. (a) निम्नलिखित यौगिक का IUPAC नाम लिखिए :

Ans. (i) पहले यौगिक की संरचना में
तीन कार्बन की श्रृंखला है और अंतिम कार्बन से Br (ब्रोमीन) जुड़ा है।
संरचना: CH₃–CH₂–CH₂–Br
IUPAC नाम : 1-ब्रोमोप्रोपेन (1-Bromopropane)
(ii) दूसरे यौगिक की संरचना में
तीन कार्बन की श्रृंखला है और अंतिम कार्बन पर –COOH (कार्बोक्सिलिक अम्ल) समूह है।
संरचना: CH₃–CH₂–COOH
IUPAC नाम : प्रोपेनोइक अम्ल (Propanoic acid)
(b) (i) संयोजन अभिक्रिया का एक उदाहरण लिखिए। (केवल समीकरण लिखिए)
Ans.
(यह एक संयोजन अभिक्रिया है क्योंकि दो पदार्थ मिलकर एक ही नया पदार्थ बनाते हैं।)
(ii) संतुलित समीकरण लिखिए :
बेरियम क्लोराइड + एलुमीनियम सल्फेट → बेरियम सल्फेट + एलुमीनियम क्लोराइड
Ans.
(यह एक द्विविस्थापन अभिक्रिया है।)
6.(a) निम्नलिखित तत्वों का इलेक्ट्रॉनिक विन्यास लिखिए :
(i) सोडियम
Ans. सोडियम (Na, परमाणु क्रमांक 11)
इलेक्ट्रॉनिक विन्यास :
(ii) क्लोरीन
Ans. क्लोरीन (Cl, परमाणु क्रमांक 17)
इलेक्ट्रॉनिक विन्यास :
(b) निम्नलिखित समीकरणों को संतुलित कीजिए:
(i) Fe (s) + H2O (g) → Fe3O4 (8) + H2 (8)
Ans. Step 1: लोहे (Fe) और Fe₃O₄ पर ध्यान दें
Fe₃O₄ में 3 Fe के परमाणु होते हैं। तो Fe को संतुलित करने के लिए, हम Fe के सामने 3 लिखेंगे:
Step 2: ऑक्सीजन (O) को संतुलित करें
Fe₃O₄ में 4 ऑक्सीजन हैं। H₂O में 1 ऑक्सीजन होती है। तो H₂O के सामने 4/1 = 4 रखकर संतुलित कर सकते हैं, लेकिन भौतिकी में भिन्न अंश नहीं रखना बेहतर है।
आसान तरीका: H₂O के सामने 4, फिर देखेंगे H₂ कैसे संतुलित होगा:
- अब H₂O में 4 × 2 = 8 H परमाणु हैं।
- इसलिए H₂ के सामने 8/2 = 4 लिखेंगे:
संतुलित समीकरण:
(ii) C6H12O6 (aq) + O2 (aq) → CO2 (aq) + H2O (ℓ)
Ans. Step 1: कार्बन (C) को संतुलित करें
- ग्लूकोज़ में 6 कार्बन हैं → CO₂ में 1 कार्बन प्रति अणु।
- तो CO₂ के सामने 6 लिखेंगे:
Step 2: हाइड्रोजन (H) को संतुलित करें
- ग्लूकोज़ में 12 हाइड्रोजन हैं → H₂O में 2 हाइड्रोजन।
- तो H₂O के सामने 12/2 = 6:
Step 3: ऑक्सीजन (O) को संतुलित करें
- दाईं ओर:
- CO₂: 6 × 2 = 12 ऑक्सीजन
- H₂O: 6 × 1 = 6 ऑक्सीजन
- कुल = 12 + 6 = 18 ऑक्सीजन
- बाईं ओर:
- C₆H₁₂O₆ में पहले से 6 ऑक्सीजन
- O₂ में x × 2 ऑक्सीजन (x = संख्या जो O₂ के सामने आएगी)
तो:
संतुलित समीकरण:
7. निम्नलिखित पर संक्षिप्त टिप्पणी लिखिए :
(a) अम्लीय वर्षा
Ans. अम्लीय वर्षा तब होती है जब वायुमंडल में उपस्थित सल्फर डाइऑक्साइड (SO₂) और नाइट्रोजन ऑक्साइड (NOₓ) जलवाष्प के साथ मिलकर सल्फ्यूरिक एसिड (H₂SO₄) और नाइट्रिक एसिड (HNO₃) बना देते हैं। इसके कारण वर्षा का pH सामान्य से कम हो जाता है।
प्रभाव: पेड़-पौधों की वृद्धि रुकती है, जल स्रोतों का अम्लीकरण होता है, और भवनों तथा स्मारकों को नुकसान पहुँचता है।
(b) तन्यता एवं आधातवर्ध्यता
Ans. तन्यता एवं आधातवर्ध्यता (Tensile Strength & Hardness):
- तन्यता (Tensile Strength): किसी पदार्थ की वह क्षमता जिससे वह खिंचाव सह सकता है, बिना टूटे।
- आधातवर्ध्यता (Hardness): किसी पदार्थ की सतह को खुरचने, काटने या दबाव सहने की क्षमता।
ये गुण धातुओं और अन्य सामग्रियों की मजबूती और उपयोगिता को दर्शाते हैं।
(c) मिसेल
Ans. जब साबुन या डिटर्जेंट के अणु पानी में घुलते हैं, तो उनके हाइड्रोफिलिक सिर बाहर और हाइड्रोफोबिक पूँछ अंदर की ओर घूमकर गोलाकार संरचना बनाते हैं, जिसे मिसेल कहते हैं।
महत्व: मिसेल ग्रीस और तेल को पानी में घोलने में मदद करता है, इसलिए यह सफाई और धुलाई में उपयोगी है।
अथवा
(a) संक्षारण से आप क्या समझते हैं? इससे सुरक्षा के दो उपाय लिखिए।
Ans. संक्षारण वह प्रक्रिया है जिसमें किसी धातु का धीरे-धीरे ऑक्सीजन, नमी या रासायनिक पदार्थों के प्रभाव से क्षय हो जाता है और उसका मूल रूप नष्ट होने लगता है। उदाहरण के लिए, लोहा ऑक्सीजन और जल के संपर्क में आने पर जंग लग जाता है।
संरक्षण के उपाय:
- धातु की सतह पर पेंट, तैलीकरण या लैकर की परत लगाना।
- जस्ता या क्रोम का कोटिंग करके धातु को हवा और पानी से बचाना।
(b) ऊष्माक्षेपी और ऊष्माशोषी अभिक्रिया से आप क्या समझते हैं ? उदाहरण दीजिए।
Ans. (i) ऊष्माक्षेपी अभिक्रिया (Exothermic Reaction):
- ऐसी रासायनिक अभिक्रिया जिसमें ऊष्मा (Heat) बाहर निकलती है, यानी प्रतिक्रिया के दौरान वातावरण गर्म हो जाता है।
- उदाहरण: जलने की प्रक्रिया, CaO + H₂O → Ca(OH)₂
(ii) ऊष्माशोषी अभिक्रिया (Endothermic Reaction):
- ऐसी रासायनिक अभिक्रिया जिसमें ऊष्मा (Heat) वातावरण से अवशोषित होती है, यानी प्रतिक्रिया के दौरान वातावरण ठंडा महसूस होता है।
- उदाहरण: NaHCO₃ + HCl → NaCl + H₂O + CO₂
उपभाग (3)
8. एक तंत्रिका कोशिका (न्यूरॉन) की संरचना बनाइए तथा इसके कार्यों का वर्णन कीजिए।
Ans. न्यूरॉन (Neuron) की संरचना:

न्यूरॉन मुख्य रूप से तीन भागों में विभाजित होता है:
- सेल बॉडी (Cell Body / Soma):
- इसमें कोशिकाज (Nucleus) और कोशिकाओं के अन्य अंग होते हैं।
- यह न्यूरॉन का मुख्य कार्य केंद्र है।
- डेंड्राइट्स (Dendrites):
- ये छोटी-छोटी शाखाओं जैसी संरचनाएँ होती हैं।
- ये अन्य न्यूरॉनों या अंगों से संकेत (Signals) प्राप्त करने का कार्य करती हैं।
- एक्सॉन (Axon):
- यह लंबी, तंतु जैसी संरचना होती है।
- यह संकेतों को कोशिका से दूर अन्य न्यूरॉनों या मांसपेशियों तक पहुंचाने का कार्य करती है।
- अक्सर एक्सॉन को मायलिन शीथ (Myelin Sheath) से ढक दिया जाता है, जिससे संकेतों का संचालन तेज होता है।
न्यूरॉन के कार्य:
- संकेत ग्रहण करना: डेंड्राइट्स के माध्यम से न्यूरॉन अन्य कोशिकाओं से संदेश ग्रहण करता है।
- संकेत प्रसारित करना: सेल बॉडी में संदेश संसाधित होकर एक्सॉन के माध्यम से अन्य न्यूरॉनों या मांसपेशियों तक भेजा जाता है।
- शरीर में त्वरित संचार: न्यूरॉन्स शरीर के विभिन्न अंगों और मस्तिष्क के बीच त्वरित संदेश संचार का कार्य करते हैं।
9. निम्नलिखित पर संक्षिप्त टिप्पणियाँ लिखिए :
(i) थायरॉक्सिन हार्मोन के कार्य
Ans. थायरॉक्सिन हार्मोन के कार्य:
- थायरॉक्सिन थायरॉइड ग्रंथि से स्रावित होता है।
- यह शरीर में ऊर्जा का उत्पादन, चयापचय (Metabolism) को नियंत्रित करने और शरीर का तापमान बनाए रखने में मदद करता है।
- बच्चों में यह विकास और मस्तिष्क के विकास के लिए आवश्यक है।
(ii) मुकुलन।
Ans. मुकुलन (Budding):
- मुकुलन एक असिंचित प्रजनन की प्रक्रिया है।
- इसमें माता कोशिका की दीवार पर नया भाग (बुड) बनता है, जो बढ़कर स्वतंत्र जीव बन जाता है।
- उदाहरण: हाइड्रा (Hydra) और यीस्ट (Yeast)।
10. पुष्पी पौधों में लैंगिक जनन का वर्णन कीजिए।
Ans. पुष्पी पौधों में जनन के लिए पुष्प (Flower) मुख्य अंग होता है। पुष्प में नर और मादा प्रजनन अंग पाए जाते हैं।
- नर प्रजनन अंग (Stamen):
- इसमें अनथर (Anther) और फिलामेंट (Filament) होते हैं।
- अनथर में परागकण (Pollen grains) बनते हैं, जो नर बीजाणु (Male gametes) प्रदान करते हैं।
- मादा प्रजनन अंग (Carpel/Pistil):
- इसमें ओवरी (Ovary), स्टाइल (Style), स्टिग्मा (Stigma) होते हैं।
- ओवरी में अंडाणु (Ovule) होते हैं, जो मादा बीजाणु (Female gametes) बनाते हैं।
- परागण (Pollination):
- परागकण का स्टिग्मा पर पहुँचने की प्रक्रिया परागण कहलाती है।
- यह हवा, पानी या कीटों के माध्यम से होता है।
- परिपक्व निषेचन (Fertilization):
- परागकण से नर बीजाणु नलिका (Pollen tube) के माध्यम से अंडाणु तक पहुँचते हैं।
- नर और मादा बीजाणु का संयोग (Fertilization) होने पर जाइगोट (Zygote) बनता है।
- बीज और फल का निर्माण:
- निषेचन के बाद अंडाणु से बीज बनता है।
- ओवरी विकसित होकर फल बनाती है, जिसमें बीज सुरक्षित रहते हैं।
11. मनुष्यों में ऑक्सीजन तथा कार्बन डाइऑक्साइड का परिवहन कैसे होता है ?
Ans. मनुष्यों में ऑक्सीजन और कार्बन डाइऑक्साइड का परिवहन (Transport of O₂ and CO₂ in Humans):
- ऑक्सीजन (O₂) का परिवहन:
- फेफड़ों में वायुमार्ग से ऑक्सीजन अल्वेओली में पहुँचती है।
- यहाँ से यह रक्त के लाल रक्त कोशिकाओं (RBCs) में उपस्थित हीमोग्लोबिन (Hemoglobin) से जुड़कर ऑक्सीहेमोग्लोबिन बनाती है।
- इसके बाद यह हृदय से शरीर के सभी अंगों तक पहुँचती है।
- कार्बन डाइऑक्साइड (CO₂) का परिवहन:
- कोशिकाओं में शरीर की गतिविधियों के दौरान CO₂ उत्पन्न होती है।
- CO₂ का लगभग 70% कार्बामिनोहेमोग्लोबिन या बायकार्बोनेट आयन (HCO₃⁻) के रूप में, 20–25% सीधे हीमोग्लोबिन से और बाकी 5–10% प्लाज्मा में घुलकर रक्त में परिवाहित होता है।
- यह CO₂ फेफड़ों तक पहुँचकर श्वसन के माध्यम से शरीर से बाहर निकलती है।
अथवा
मनुष्य के हृदय की संरचना का उपयुक्त चित्र की सहायता से वर्णन कीजिए।
Ans. मनुष्य के हृदय (Human Heart) की संरचना:

- स्थान और आकार:
- हृदय एक खोखला, मांसल अंग है जो वक्ष गुहा (Thoracic cavity) में फेफड़ों के बीच स्थित होता है।
- इसका आकार लगभग बंद मुट्ठी के बराबर होता है।
- हृदय के भाग:
- हृदय को चार कक्षों में बाँटा गया है:
- दाएँ और बाएँ एट्रियम (Atrium / Upper Chambers)
- दाएँ एट्रियम: शरीर से लौटी गंदगी भरी रक्त को प्राप्त करता है।
- बाएँ एट्रियम: फेफड़ों से लौटी ऑक्सीजन युक्त रक्त को प्राप्त करता है।
- दाएँ और बाएँ वेंट्रिकल (Ventricle / Lower Chambers)
- दाएँ वेंट्रिकल: रक्त को फेफड़ों की ओर भेजता है।
- बाएँ वेंट्रिकल: रक्त को संपूर्ण शरीर में भेजता है।
- दाएँ और बाएँ एट्रियम (Atrium / Upper Chambers)
- हृदय को चार कक्षों में बाँटा गया है:
- वाल्व (Valves):
- हृदय में रक्त को एक दिशा में प्रवाहित करने के लिए वाल्व पाए जाते हैं।
- दाएँ ओर: ट्राइकसपिड वाल्व (Tricuspid Valve)
- बाएँ ओर: बाइकसपिड/माइट्रल वाल्व (Bicuspid/Mitral Valve)
- फेफड़ों की और और शरीर की धमनियों में सेमिलूनर वाल्व (Semilunar Valves)।
- रक्त प्रवाह का क्रम (Blood Circulation):
- दाएँ एट्रियम ← शरीर से अवशिष्ट रक्त
- दाएँ वेंट्रिकल → फेफड़ों (O₂ के लिए)
- बाएँ एट्रियम ← फेफड़ों से ऑक्सीजन युक्त रक्त
- बाएँ वेंट्रिकल → शरीर में ऑक्सीजन प्रदान करने के लिए