U.P Board Class 10 Science 824 (IN) Question Paper 2024

U.P Board Class 10 Science 824 (IN) Question Paper 2024 का उत्तर आप यहाँ से प्राप्त कर सकते हैं। जिसका कोई भी शुल्क आपसे नहीं लिया जायेगा। आइये विस्तार से सभी प्रश्नो को जानते हैं।

सत्र – 2024
विज्ञान
समय: तीन घण्टे 15 मिनट  पूर्णांक: 70

नोट : प्रारम्भ के 15 मिनट परीक्षार्थियों को प्रश्नपत्र पढ़ने के लिए निर्धारित हैं।

निर्देश:

i) प्रश्नपत्र दो खण्डों – खण्ड-अ तथा खण्ड-ब में विभाजित है।

ii) खण्ड-अ तथा खण्ड-ब तीन उपभागों – उपभागों (1), (2), (3) में विभाजित हैं।

iii) प्रश्नपत्र के खण्ड-अ में बहुविकल्पीय प्रश्न हैं जिनमें सही विकल्प का चुनाव कर ओ०एम०आर० उत्तर पत्रक पर नीले अथवा काले बॉल प्वाइंट पेन से सही विकल्प वाले गोले को पूर्ण रूप से भरें। ओ० एम० आर० उत्तर पत्रक पर उत्तर देने के पश्चात उसे नहीं काटें तथा इरेजर अथवा ह्राइटनर का प्रयोग न करें।

iv) खण्ड-अ में बहुविकल्पीय प्रश्न हेतु प्रत्येक प्रश्न के लिए 1 अंक निर्धारित है।

v) खण्ड-ब में वर्णनात्मक प्रश्न हैं।

vi) प्रत्येक प्रश्न के सम्मुख उनके निर्धारित अंक दिये गये हैं।

vii) खण्ड-ब के प्रत्येक उपभाग के सभी प्रश्न एक साथ करना आवश्यक है। प्रत्येक उपभाग नए पृष्ठ से प्रारम्भ किया जाए।

viii) सभी प्रश्न अनिवार्य हैं।

खण्ड अ (बहुविकल्पीय प्रश्न)

उपभाग (1)

1. 10 सेमी फोकस दूरी का एक उत्तल लेंस, एक वस्तु के बराबर आकार का वास्तविक प्रतिबिम्ब बनाता है। वस्तु और इसके प्रतिबिम्ब के बीच की दूरी होगी-

(A) 10 सेमी
(B) 20 सेमी
(C) 30 सेमी
(D) 40 सेमी

Ans. (D) 40 सेमी

2. एक उत्तल दर्पण द्वारा उत्पन्न आवर्धन सदैव होता है-

(A) 1 से अधिक
(B) 1 से कम
(C) 1 के बराबर
(D) 1 से अधिक या कम

Ans. (B) 1 से कम

3. एक अभिसारी लेंस की फोकस दूरी 20 सेमी है। इस लेंस की क्षमता होगी-

(A) + 0.2 D
(B) -0.2 D
(C) +5.0 D
(D) -5.0 D

Ans. (C) +5.0 D

4. जब एक श्वेत प्रकाश किरण किसी त्रिकोणीय काँच के प्रिज्म की सतह पर गिरती है तो यह प्रिज्म से निर्गत होने पर अलग-अलग विचलन से विभिन्न रंगों में विभाजित हो जाती है। किस रंग के लिए विचलन न्यूनतम होता है ?

(A) पीला
(B) हरा
(C) बैंगनी
(D) लाल

Ans. (D) लाल

5. किसी पदार्थ के लम्बाई तथा A परिच्छेद क्षेत्रफल के तार का प्रतिरोध 4 ओम है। इसी पदार्थ के अन्य तार की लम्बाई 21 तथा परिच्छेद क्षेत्रफल हो तो उसका प्रतिरोध होगा?

(A) 4 Ω
(B) 82 Ω
(C) 16 Ω
(D) 32 Ω

Ans. (D) 32 Ω

6. निम्नलिखित में कौन किसी परिपथ में वैद्युत शक्ति को नहीं प्रदर्शित करता है ?

(A) I2 R
(B) V I
(C) I R2
(D) (V2)/R

Ans. (C) I R2

7. किसी धारावाही चालक के कारण उससे दूरी पर स्थित किसी बिन्दु पर उत्पन्न चुम्बकीय क्षेत्र होता है?

(A) r के अनुक्रमानुपाती
(B) r2 के अनुक्रमानुपाती
(C) r के व्युत्क्रमानुपाती
(D) r2 के व्युत्क्रमानुपाती

Ans. (C) r के व्युत्क्रमानुपाती

उपभाग- (2)

8. हाइड्रोजन आयन  ( H+ ) की प्रकृति है-

(A) अम्लीय
(B) क्षारीय
(C) उदासीन
(D) इनमें से कोई नहीं

Ans. (A) अम्लीय

9. धावन सोडा के एक अणु में जल के अणुओं की संख्या है-

(A) 2
(B) 5
(C) 8
(D) 10

Ans. (B) 5

10. निम्नलिखित में कौन अधातु है ?

(A) Cr
(B) Fe2+
(C) He
(D) Hg

Ans. (C) He

11. धातुओं के लिए कौन सत्य नहीं है ?

(A) धातुएँ सदैव सहसंयोजक यौगिक बनाती हैं
(B) धातुएँ धन आयन बनाती हैं
(C) धातुओं में इलेक्ट्रॉन त्यागने की प्रवृत्ति होती है
(D) धातुओं में चालकता का गुण पाया जाता है

Ans. (A) धातुएँ सदैव सहसंयोजक यौगिक बनाती हैं

12. प्लास्टर ऑफ पेरिस की जल से अभिक्रिया कराने पर बनता है-

(A) इप्सम
(B) जिप्सम
(C) चूना पत्थर
(D) इनमें से कोई नहीं

Ans. (A) इप्सम

13. एथेनाल को सोडियम से अभिक्रिया कराने पर प्राप्त होती है –

(A) O₂ गैस
(B) H₂ गैस
(C) C₂H₂ गैस
(D) C₂H₂ गैस

Ans. (B) H₂ गैस

उपभाग- (3)

14. मानव में लिंग गुणसूत्रों की संख्या होती है-

(A) 23
(B) 2
(C) 21
(D) 20

Ans. (B) 2

15. शरीर के बाहर से ऑक्सीजन को ग्रहण करना तथा कोशिकीय आवश्यकता के अनुसार खाद्य सोन के विघटन को कहते हैं-

(A) उत्सर्जन
(B) जनन
(C) श्वसन
(D) प्रकाश संश्लेषण

Ans. (C) श्वसन

16. मस्तिष्क का मुख्य सोचने वाला भाग कहलाता है-

(A) अग्र मस्तिष्क
(B) मध्य मस्तिष्क
(C) पश्च मस्तिष्क
(D) अनुमस्तिष्क

Ans. (A) अग्र मस्तिष्क

17. निम्नलिखित पौधों में से किसका पुष्प एकलिंगी होता है ?

(A) गुड़हल
(B) सरसों
(C) मटर
(D) पपीता

Ans. (D) पपीता

18. एक पोषी स्तर पर उपलब्ध कार्बनिक पदार्थों की कितनी मात्रा अगले पोषी स्तर तक पहुंचती है?

(A) 0%
(B) 10%
(C) 50%
(D) 100%

Ans. (B) 10%

19. पौधों में प्रकाश संश्लेषण का उत्पाद है-

(A) प्रोटीन + ऑक्सीजन + जल
(B) ग्लूकोज + ऑक्सीजन + जल
(C) वसा + नाइट्रोजन + जल
(D) वसा + कार्बन डाइऑक्साइड + जल

Ans. (B) ग्लूकोज + ऑक्सीजन + जल

20. निम्नलिखित में कौन एक पादप हार्मोन नहीं है ?

(A) ऑक्सिन
(B) जिब्बेरेलिन
(C) एस्ट्रोजन
(D) साइटोकाइनिन

Ans. (C) एस्ट्रोजन

खण्ड – ब  ( वर्णनात्मक प्रश्न)

उपभाग (1)

1. (i)कारों में पश्च दृश्य दर्पण के लिए कौन-सा प्रकार का दर्पण प्रयोग करते हैं? हम इसे क्यों वरीयता देते हैं ?
Ans.
कारों में पश्च दृश्य दर्पण के लिए उत्तल दर्पण (Convex Mirror) का प्रयोग किया जाता है।

कारण (वरीयता क्यों देते हैं):

  1. उत्तल दर्पण सदैव सीधा तथा आभासी प्रतिबिम्ब बनाता है।
  2. यह विस्तृत दृश्य क्षेत्र प्रदान करता है, जिससे चालक पीछे की अधिक वस्तुएँ एक साथ देख सकता है।
  3. इसमें बना प्रतिबिम्ब छोटा होता है, इसलिए पीछे की वस्तुओं का अधिक भाग दिखाई देता है।
  4. प्रतिबिम्ब स्पष्ट होता है, जिससे वाहन चलाते समय सुरक्षा बढ़ती है।

इसी कारण कारों में पश्च दृश्य दर्पण के रूप में उत्तल दर्पण को वरीयता दी जाती है।

(ii) एक 3 सेमी ऊँचाई की वस्तु एक अवतल दर्पण से 8 सेमी की दूरी पर रखी है जो 4.5 सेमी ऊँचाई का आभासी प्रतिबिम्ब बनाता है। प्रतिबिम्ब की स्थिति तथा दर्पण की फोकस दूरी ज्ञात कीजिए ।
Ans.
दिया गया है —
वस्तु की ऊँचाई, h=3h = 3 सेमी
प्रतिबिम्ब की ऊँचाई, h=4.5h’ = 4.5 सेमी
वस्तु की दूरी, u=8u = -8 सेमी
(अवतल दर्पण के लिए वस्तु दूरी ऋणात्मक ली जाती है)

चरण 1 : आवर्धन (Magnification) ज्ञात करें

m=hh=4.53=1.5m = \frac{h’}{h} = \frac{4.5}{3} = 1.5

दर्पण के लिए,m=vum = -\frac{v}{u}1.5=v81.5 = -\frac{v}{-8}v=+12 सेमीv = +12 \text{ सेमी}

प्रतिबिम्ब दर्पण के पीछे 12 सेमी दूरी पर बनेगा (आभासी प्रतिबिम्ब)।

चरण 2 : फोकस दूरी ज्ञात करें

दर्पण सूत्र:1f=1v+1u\frac{1}{f} = \frac{1}{v} + \frac{1}{u}1f=112+18\frac{1}{f} = \frac{1}{12} + \frac{1}{-8}1f=2324=124\frac{1}{f} = \frac{2 – 3}{24} = -\frac{1}{24} f=24 सेमीf = -24 \text{ सेमी}

  • प्रतिबिम्ब की स्थिति = दर्पण के पीछे 12 सेमी
  • दर्पण की फोकस दूरी = –24 सेमी

(ऋणात्मक चिन्ह दर्शाता है कि दर्पण अवतल है।)

2. (i) निकट दृष्टि दोष क्या होता है? किरण आरेख द्वारा समझाइये। किस लेंस द्वारा यह दोष संशोधित किया जाता है ?
Ans.
निकट दृष्टि दोष वह नेत्र दोष है जिसमें व्यक्ति निकट की वस्तुएँ स्पष्ट देख सकता है, परंतु दूर की वस्तुएँ धुंधली दिखाई देती हैं

कारण

  1. नेत्रगोलक का सामान्य से अधिक लम्बा हो जाना।
  2. नेत्र लेंस की अभिसारी शक्ति का अधिक हो जाना।

इन कारणों से दूर की वस्तुओं से आने वाली किरणें रेटिना से पहले ही मिल जाती हैं, जबकि उन्हें रेटिना पर मिलना चाहिए।

किरण आरेख (वर्णनात्मक)

  • दूर स्थित वस्तु से आने वाली समांतर किरणें नेत्र लेंस से होकर गुजरने पर
  • रेटिना से पहले फोकस हो जाती हैं,
  • जिससे स्पष्ट प्रतिबिम्ब नहीं बन पाता।

सुधार (Correction)

इस दोष को अवतल लेंस (Concave Lens) द्वारा संशोधित किया जाता है।

अवतल लेंस दूर की वस्तुओं से आने वाली किरणों को थोड़ा फैला देता है, जिससे वे नेत्र लेंस द्वारा रेटिना पर सही स्थान पर फोकस हो जाती हैं और वस्तु स्पष्ट दिखाई देती है।

Note:

  • निकट दृष्टि दोष में दूर की वस्तुएँ स्पष्ट नहीं दिखतीं।
  • इसका सुधार अवतल लेंस से किया जाता है।

(ii) स्वच्छ आकाश का रंग नीला क्यों प्रतीत होता है ? व्याख्या कीजिए।
Ans.
स्वच्छ आकाश का रंग नीला प्रतीत होता है क्योंकि वायुमण्डल के अणुओं द्वारा प्रकाश का प्रकीर्णन (Scattering) होता है।

सूर्य का श्वेत प्रकाश सात रंगों का मिश्रण होता है। जब यह प्रकाश पृथ्वी के वायुमण्डल में प्रवेश करता है, तो वायु के अणु छोटे तरंगदैर्ध्य वाले प्रकाश (नीला और बैंगनी) का अधिक प्रकीर्णन करते हैं। नीले प्रकाश की तरंगदैर्ध्य बैंगनी से अधिक होने के कारण यह हमारी आँखों तक अधिक मात्रा में पहुँचता है।

इसी कारण हमें चारों ओर से आने वाला प्रकीर्णित प्रकाश नीला दिखाई देता है और स्वच्छ आकाश का रंग नीला प्रतीत होता है।

3. (i) एक समान चुम्बकीय क्षेत्र में धारावाही चालक पर बल किन-किन वातों पर निर्भर करता है? इस बल की दिशा ज्ञात करने का नियम लिखिए।
Ans.
जब किसी चालक में धारा प्रवाहित होती है और उसे एक समान चुम्बकीय क्षेत्र में रखा जाता है, तो चालक पर एक चुम्बकीय बल कार्य करता है।

यह बल निम्नलिखित बातों पर निर्भर करता है—

  1. चालक में प्रवाहित धारा की मात्रा (I) पर
  2. चुम्बकीय क्षेत्र की तीव्रता (B) पर
  3. चुम्बकीय क्षेत्र में स्थित चालक की लंबाई (ℓ) पर
  4. धारा की दिशा और चुम्बकीय क्षेत्र की दिशा के बीच बने कोण (θ) पर

F=BIsinθF = B I \ell \sin\theta

बल की दिशा ज्ञात करने का नियम

फ्लेमिंग का बायाँ हाथ नियम (Fleming’s Left Hand Rule)

इस नियम के अनुसार—
बाएँ हाथ की पहली उँगली, अँगूठा और मध्य उँगली को परस्पर लम्बवत फैलाएँ।

  • पहली उँगली → चुम्बकीय क्षेत्र की दिशा बताती है
  • मध्य उँगली → धारा की दिशा बताती है
  • अँगूठा → चालक पर लगने वाले बल (गति) की दिशा बताता है

निष्कर्ष: धारावाही चालक पर लगने वाला बल धारा, चुम्बकीय क्षेत्र, चालक की लंबाई तथा उनके बीच के कोण पर निर्भर करता है तथा उसकी दिशा फ्लेमिंग के बाएँ हाथ नियम से ज्ञात की जाती है।

(ii) विशिष्ट प्रतिरोध का मात्रक क्या है? एक 25 का प्रतिरोधक 12 वोल्ट की एक बैटरी से जुड़ा है। प्रति मिनट जूल में उत्पन्न ऊष्मा ऊर्जा की गणना कीजिए।
Ans.
विशिष्ट प्रतिरोध (Resistivity) का SI मात्रक ओम–मीटर (Ω m) होता है।

दिया गया है —

प्रतिरोध, R=25ΩR = 25 \, \Omega
वोल्टता, V=12VV = 12 \, \text{V}
समय, t=1 मिनट=60 सेकण्डt = 1 \text{ मिनट} = 60 \text{ सेकण्ड}

चरण 1 : शक्ति (Power) ज्ञात करें

P=V2RP = \frac{V^2}{R}P=12225=14425=5.76वाटP = \frac{12^2}{25} = \frac{144}{25} = 5.76 \, \text{वाट}

चरण 2 : उत्पन्न ऊष्मा ऊर्जा

ऊष्मा ऊर्जा=P×t\text{ऊष्मा ऊर्जा} = P \times t=5.76×60= 5.76 \times 60=345.6जूल= 345.6 \, \text{जूल}

गणना कीजिए:

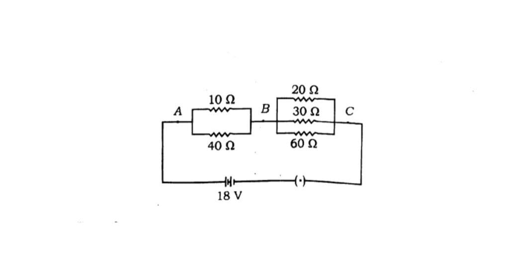
(i) परिपथ का कुल प्रतिरोध

(ii) परिपथ में प्रवाहित कुल वैद्युत धारा

(iii) बिन्दुओं A और B के बीच विभवान्तर।

Ans. दिए गए परिपथ में प्रतिरोधों का संयोजन इस प्रकार है:

  • A–B के बीच : 10Ω और 40Ω समान्तर (Parallel) में
  • B–C के बीच : 20Ω, 30Ω और 60Ω समान्तर (Parallel) में
  • A–B तथा B–C के समतुल्य प्रतिरोध श्रृंखला (Series) में जुड़े हैं
  • बैटरी = 18 V

(i) परिपथ का कुल प्रतिरोध

A–B के बीच समतुल्य प्रतिरोध

1RAB=110+140\frac{1}{R_{AB}} = \frac{1}{10} + \frac{1}{40}1RAB=4+140=540\frac{1}{R_{AB}} = \frac{4+1}{40} = \frac{5}{40}RAB=8ΩR_{AB} = 8\,\Omega

B–C के बीच समतुल्य प्रतिरोध

1RBC=120+130+160\frac{1}{R_{BC}} = \frac{1}{20} + \frac{1}{30} + \frac{1}{60}1RBC=3+2+160=660\frac{1}{R_{BC}} = \frac{3+2+1}{60} = \frac{6}{60}RBC=10ΩR_{BC} = 10\,\Omega

कुल प्रतिरोध

Rtotal=RAB+RBCR_{\text{total}} = R_{AB} + R_{BC}Rtotal=8+10=18ΩR_{\text{total}} = 8 + 10 = \boxed{18\,\Omega}

(ii) परिपथ में प्रवाहित कुल वैद्युत धारा

ओम का नियम:I=VRI = \frac{V}{R}I=1818=1AI = \frac{18}{18} = \boxed{1\,\text{A}}

(iii) बिन्दुओं A और B के बीच विभवान्तर

VAB=I×RABV_{AB} = I \times R_{AB}VAB=1×8=8VV_{AB} = 1 \times 8 = \boxed{8\,\text{V}}

उपभाग (2)

5. (a) विद्युत रासायनिक श्रेणी के किन्हीं दो गुणों का उल्लेख कीजिए।
Ans.
विद्युत रासायनिक श्रेणी के दो गुण

  1. धातुओं की क्रियाशीलता का क्रम
    विद्युत रासायनिक श्रेणी में धातुएँ उनकी क्रियाशीलता (अभिक्रियाशीलता) के घटते क्रम में व्यवस्थित होती हैं। जो धातु ऊपर होती है, वह अधिक क्रियाशील होती है।
  2. विस्थापन अभिक्रियाओं का ज्ञान
    इस श्रेणी की सहायता से यह ज्ञात किया जा सकता है कि कौन-सी धातु किसी अन्य धातु को उसके लवण के विलयन से विस्थापित कर सकती है

(b) Na परमाणु (परमाणु क्रमांक 11) तथा क्लोरीन परमाणु (परमाणु क्रमांक 17) के संयोग से Na+ Cl का बनना समझाइए।
Ans.
Na परमाणु (परमाणु क्रमांक 11) का इलेक्ट्रॉनिक विन्यास2,8,12,\,8,\,1

Cl परमाणु (परमाणु क्रमांक 17) का इलेक्ट्रॉनिक विन्यास2,8,72,\,8,\,7

संयोग की प्रक्रिया

  • सोडियम (Na) अपने बाह्य कक्षा का एक इलेक्ट्रॉन त्याग कर NaNa++e\text{Na} \rightarrow \text{Na}^+ + e^-Na⁺ आयन बनाता है।
  • क्लोरीन (Cl) उसी इलेक्ट्रॉन को ग्रहण कर Cl+eCl\text{Cl} + e^- \rightarrow \text{Cl}^- Cl⁻ आयन बनाता है।

बंधन का निर्माण

Na⁺ और Cl⁻ के बीच वैद्युत स्थैतिक आकर्षण बल उत्पन्न होता है, जिससे आयनिक बंध बनता है औरNa++ClNaCl\text{Na}^+ + \text{Cl}^- \rightarrow \text{NaCl}

निष्कर्ष: सोडियम इलेक्ट्रॉन त्यागकर तथा क्लोरीन इलेक्ट्रॉन ग्रहण करके क्रमशः Na⁺ और Cl⁻ आयन बनाते हैं। इनके बीच आयनिक बंध बनने से सोडियम क्लोराइड (NaCl) का निर्माण होता है।

6. निम्नलिखित पर संक्षिप्त टिप्पणी लिखिए :

(a) उदासीनीकरण अभिक्रिया
Ans.
जिस रासायनिक अभिक्रिया में अम्ल और क्षार आपस में अभिक्रिया करके लवण तथा जल बनाते हैं, उसे उदासीनीकरण अभिक्रिया कहते हैं।

सामान्य समीकरण:
अम्ल + क्षार → लवण + जल

उदाहरण:HCl+NaOHNaCl+H2O\text{HCl} + \text{NaOH} \rightarrow \text{NaCl} + \text{H}_2\text{O}

(b) अपचयन अभिक्रिया।
Ans.
जिस अभिक्रिया में किसी पदार्थ में

  • ऑक्सीजन का हटना या
  • हाइड्रोजन का जुड़ना या
  • इलेक्ट्रॉनों का ग्रहण

होता है, उसे अपचयन अभिक्रिया कहते हैं।

उदाहरण:CuO+H2Cu+H2O\text{CuO} + \text{H}_2 \rightarrow \text{Cu} + \text{H}_2\text{O}

यहाँ CuO से ऑक्सीजन हटती है, अतः यह अपचयन अभिक्रिया है।

7. क्या होता है जबकि (केवल सन्तुलित रासायनिक समीकरण लिखिए)

(a) सोडियम ऑक्साइड की जल से क्रिया कराई जाती है ?
Ans.
(a) सोडियम ऑक्साइड की जल से क्रिया

Na2O+H2O2NaOH\boxed{\text{Na}_2\text{O} + \text{H}_2\text{O} \rightarrow 2\,\text{NaOH}}

(b) शुष्क बुझे चूने से शुष्क क्लोरीन गैस की क्रिया कराई जाती है ?
Ans.
b) शुष्क बुझे चूने से शुष्क क्लोरीन गैस की क्रिया

Ca(OH)2+Cl2CaOCl2+H2O\boxed{\text{Ca(OH)}_2 + \text{Cl}_2 \rightarrow \text{CaOCl}_2 + \text{H}_2\text{O}}

(इस अभिक्रिया में ब्लीचिंग पाउडर (CaOCl₂) बनता है।)

(c) एथेनाल को सान्द्र H₂SO₄ की अधिकता के साथ 160°C से 170°C ताप तक गर्म किया जाता है ?
Ans.
(केवल सन्तुलित रासायनिक समीकरण)C2H5OH  160C–170C  सान्द्र H2SO4C2H4+H2O\boxed{\text{C}_2\text{H}_5\text{OH} \xrightarrow[\;160^\circ\text{C–}170^\circ\text{C}\;]{\text{सान्द्र } \text{H}_2\text{SO}_4} \text{C}_2\text{H}_4 + \text{H}_2\text{O}}

इस अभिक्रिया में एथेनॉल का निर्जलीकरण होकर एथीन गैस बनती है।

(d) एथेनोइक अम्ल को सोडियम बाईकार्बोनेट से क्रिया कराई जाती है?
Ans.
(केवल सन्तुलित रासायनिक समीकरण)CH3COOH+NaHCO3CH3COONa+H2O+CO2\boxed{\text{CH}_3\text{COOH} + \text{NaHCO}_3 \rightarrow \text{CH}_3\text{COONa} + \text{H}_2\text{O} + \text{CO}_2}

इस अभिक्रिया में कार्बन डाइऑक्साइड गैस निकलती है।

(e) एथेनाल को सान्द्र H₂SO₄ की उपस्थिति में एथेनोइक अम्ल के साथ गर्म किया जाता है ?
Ans.
जब एथेनाल (CH₃CHO) को सान्द्र H₂SO₄ की उपस्थिति में एथेनोइक अम्ल (CH₃COOH) के साथ गर्म किया जाता है, तो यह असंतृप्त एस्टीकरण (Esterification) अभिक्रिया देता है।

  • इस अभिक्रिया में एथेनाल और एथेनोइक अम्ल मिलकर एसीटिक एसीटेट (CH₃COOCH₃) बनाते हैं।
  • प्रतिक्रिया:

CH3CHO+CH3COOHH2SO4,heatCH3COOCH3+H2OCH_3CHO + CH_3COOH \xrightarrow{H_2SO_4, \text{heat}} CH_3COOCH_3 + H_2O

संक्षेप में:

  • अभिक्रिया का प्रकार: एस्टीकरण (Esterification)
  • उत्पाद: एसीटिक एसीटेट (मिथाइल एसीटेट)
  • उत्प्रेरक: सान्द्र H₂SO₄

यदि आप चाहो तो मैं इसे एक सरल चित्र सहित भी समझा सकता हूँ ताकि याद रखना आसान हो जाए।

(f) एथेन को वायु में जलाया जाता है ?
Ans.
जब एथेन (C₂H₆) को वायु (O₂) में जलाया जाता है, तो यह पूर्ण दहन (complete combustion) या आंशिक दहन (incomplete combustion) कर सकता है, यह ऑक्सीजन की मात्रा पर निर्भर करता है।

  1. पूर्ण दहन (पर्याप्त ऑक्सीजन में):

2C2H6+7O2heat4CO2+6H2O+ऊर्जा2C_2H_6 + 7O_2 \xrightarrow{\text{heat}} 4CO_2 + 6H_2O + \text{ऊर्जा}

  • उत्पाद: कार्बन डाइऑक्साइड (CO₂) और पानी (H₂O)
  • बहुत सारी ऊर्जा उत्पन्न होती है।
  1. आंशिक दहन (ऑक्सीजन कम होने पर):

2C2H6+5O2heat4CO+6H2O2C_2H_6 + 5O_2 \xrightarrow{\text{heat}} 4CO + 6H_2O

  • उत्पाद: कार्बन मोनोऑक्साइड (CO) और पानी (H₂O)
  • कम ऊर्जा उत्पन्न होती है।

संक्षेप में:

  • अभिक्रिया का प्रकार: दहन (Combustion)
  • ऊर्जा का स्रोत: ऊर्जा मुक्त होती है (heat & light)
  • पर्याप्त ऑक्सीजन में → CO₂ + H₂O
  • ऑक्सीजन कम → CO + H₂O

अथवा

(a) विलयन के pH मान पर संक्षिप्त टिप्पणी लिखिए।
Ans.
pH का अर्थ:

  • pH किसी विलयन में हाइड्रोजन आयनों (H⁺) की सांद्रता का माप है।
  • गणितीय रूप से:

pH=log10[H+]\text{pH} = -\log_{10} [H^+]

pH के आधार पर विलयन का प्रकार:

pH मानविलयन का प्रकार
0 – 6अम्लीय (Acidic)
7तटस्थ (Neutral)
8 – 14क्षारीय / क्षार (Basic/Alkaline)

pH का महत्व:

  • यह बताता है कि विलयन अम्लीय, तटस्थ या क्षारीय है।
  • कृषि, औद्योगिक प्रक्रियाओं, जल गुणवत्ता और मानव स्वास्थ्य में pH का महत्व है।

(b) असंतृप्त हाइड्रोकार्बन पर संक्षिप्त टिप्पणी लिखिए।

Ans. परिभाषा:

  • असंतृप्त हाइड्रोकार्बन वे कार्बनिक यौगिक हैं जिनमें एक या अधिक डबल (C=C) या ट्रिपल (C≡C) बॉंड पाए जाते हैं।
  • इन यौगिकों में हाइड्रोजन की संख्या संतृप्त हाइड्रोकार्बन से कम होती है।

मुख्य प्रकार:

प्रकारसंरचना का उदाहरण
एथीन (Alkene)C=C डबल बॉंड, उदाहरण: एथिलीन (C₂H₄)
ऐल्काइन (Alkyne)C≡C ट्रिपल बॉंड, उदाहरण: एथाइन (C₂H₂)

मुख्य गुण और अभिक्रियाएँ:

  • असंतृप्त हाइड्रोकार्बन ज्यादा प्रतिक्रियाशील होते हैं।
  • ये एडिशन (Addition) अभिक्रिया कर सकते हैं, जैसे:
    • हाइड्रोजन (H₂) जोड़ना → हाइड्रोजनीकरण
    • हैलोजन (Cl₂, Br₂) जोड़ना → हैलोजन अभिक्रिया

उपयोग:

  • प्लास्टिक, पॉलिमर, रबर, और रसायन निर्माण में उपयोग होते हैं।

(c) निम्नलिखित यौगिकों के I.U.P.A.C. नाम लिखिए :

(i) CH3-C≡C-CH3

Ans. CH₃-C≡C-CH₃

  • यह यौगिक 4 कार्बन का अल्काइन है।
  • मुख्य चेन में C≡C ट्रिपल बॉन्ड है।
  • ट्रिपल बॉन्ड की स्थिति 2 पर है (C1 से गिनकर):

CH3CCCH3CH_3-C≡C-CH_3

IUPAC नाम: ब्यूटाइन-2 (Butyne-2)


(ii)

    H   OH   H
    |    |    |
H - C - C - C - H
    |    
    H

Ans. Propan-2-ol or अन्य नाम: Isopropyl alcohol (आइसोप्रोपिल अल्कोहल)

उपभाग- (3)

8. निम्नलिखित में प्रत्येक का एक उदाहरण लिखिए :

(i) विखंडन
Ans.
जब पत्थर को हथौड़े से तोड़ा जाता है, तो वह छोटे-छोटे टुकड़ों में टूट जाता है।

(ii) खंडन
Ans.
यूरेनियम-235 के नाभिक का नाभिकीय प्रतिक्रिया में दो छोटे नाभिकों में विभाजन।

(iii) पुनरुद्भवन (पुनर्जन्म)
Ans.
छिपकली का पूँछ कट जाने पर उसका नया पूँछ उग आना।

(iv) मुकुलन।
Ans.
हाइड्रा नामक जलजीव में नया हाइड्रा पुरानी से एक अंकुर (बड) के रूप में निकलता है।

9. निम्नलिखित पर संक्षिप्त टिप्पणियाँ लिखिए :

(i) पारितन्त्र
Ans.
पारितन्त्र में जीवित (जैसे: पेड़, जानवर) और निर्जीव घटक (जैसे: पानी, मिट्टी, हवा) आपस में मिलकर एक संतुलित प्रणाली बनाते हैं। इसमें ऊर्जा का प्रवाह और पदार्थों का पुनर्चक्रण होता है।

(ii) ओजोन परत।
Ans.
ओजोन परत पृथ्वी के वायुमंडल में उपस्थित ओजोन गैस की परत है, जो सूर्य की हानिकारक पराबैंगनी किरणों (UV rays) को रोककर पृथ्वी और जीवों की रक्षा करती है।

10. मानव के मादा जनन तंत्र का नामांकित चित्र बनाइए और उसका संक्षिप्त वर्णन कीजिए।
Ans.
मानव मादा जनन तंत्र का सरल चित्र और संक्षिप्त वर्णन-

संक्षिप्त वर्णन

  1. अंडाशय (Ovary): यह दो अंग होते हैं जो अंडाणु (egg) और महिलाओं के हार्मोन (एस्ट्रोजन, प्रोजेस्टेरोन) का निर्माण करते हैं।
  2. फैलोपियन नली (Fallopian Tube): अंडाणु को अंडाशय से गर्भाशय तक ले जाती है; यहाँ अंडाणु और शुक्राणु का मिलन (fertilization) हो सकता है।
  3. गर्भाशय (Uterus): गर्भाशय में निषेचित अंडाणु विकसित होकर भ्रूण बनता है।
  4. ग्रीवा (Cervix): यह गर्भाशय और योनि को जोड़ती है।
  5. योनि (Vagina): प्रजनन मार्ग और जन्म मार्ग के रूप में कार्य करती है।

11- मानव के वृक्क की संरचना का संक्षेप में वर्णन कीजिए एवं उसके कार्य का उल्लेख भी कीजिए।
Ans.
मानव के वृक्क (Kidney) का संक्षिप्त वर्णन और कार्य इस प्रकार है:

संरचना:

  1. मानव में दो वृक्क होते हैं, जो कमर के दोनों ओर रीढ़ की हड्डी के पास स्थित होते हैं।
  2. प्रत्येक वृक्क का आकार लगभग मूंगफली जैसा होता है और यह लाल-भूरा रंग का होता है।
  3. वृक्क के अंदर मुख्यतः तीन भाग होते हैं:
    • कोर्टेक्स (Cortex): बाहरी परत, जिसमें नेफ्रॉन (Nephrons) स्थित होते हैं।
    • मेडुला (Medulla): मध्य परत, जिसमें नेफ्रॉन के लूप और नलिकाएँ होती हैं।
    • रिनल पेल्विस (Renal pelvis): केंद्र भाग, जो मूत्र को मूत्रमार्ग (Ureter) की ओर ले जाता है।
  4. नेफ्रॉन (Nephron): वृक्क की कार्यात्मक इकाई है। प्रत्येक वृक्क में लगभग 1 मिलियन नेफ्रॉन होते हैं।

कार्य:

  1. मूत्र निर्माण: शरीर से अपशिष्ट पदार्थों (जैसे यूरिया, यूरिक एसिड) और अतिरिक्त जल को मूत्र के रूप में निकालना।
  2. रक्त का शुद्धिकरण: रक्त से हानिकारक पदार्थों को अलग करना।
  3. जल और लवण संतुलन बनाए रखना।
  4. रक्तचाप और रक्त में pH का संतुलन बनाए रखना।
  5. कुछ हार्मोन का निर्माण: जैसे रेनिन (Renin) और एरिथ्रोपोइटिन (Erythropoietin)।

अथवा

निम्नलिखित पर संक्षिप्त टिप्पणियाँ लिखिए :

(i) पौधों में गुरुत्वानुवर्तन
Ans
. पौधों में गुरुत्वानुवर्तन (Gravitropism in plants):

  • पौधों में गुरुत्वानुवर्तन वह प्राकृतिक प्रतिक्रिया है, जिसमें पौधे के अंग गुरुत्वाकर्षण की दिशा के अनुसार बढ़ते हैं।
  • उदाहरण के रूप में जड़ें हमेशा पृथ्वी की ओर बढ़ती हैं, इसे सकारात्मक गुरुत्वानुवर्तन कहते हैं, जबकि तना और पत्तियाँ ऊपर की ओर बढ़ती हैं, इसे नकारात्मक गुरुत्वानुवर्तन कहते हैं।
  • यह प्रक्रिया पौधों को सही दिशा में वृद्धि करने में मदद करती है, जिससे उन्हें पानी, खनिज और सूर्य की रोशनी प्राप्त होती है।

(ii) मनुष्य में वृद्धि हार्मोन
Ans.
मनुष्य में वृद्धि हार्मोन (Growth Hormone in humans):

  • वृद्धि हार्मोन को सोमेटोट्रापिन (Somatotropin) कहा जाता है। यह हार्मोन मस्तिष्क के पिट्यूटरी ग्रंथि से स्रावित होता है।
  • इसका मुख्य कार्य शरीर के अंगों की वृद्धि को नियंत्रित करना है।
  • यह हार्मोन हड्डियों और मांसपेशियों की लंबाई और मोटाई बढ़ाने, शरीर के ऊतकों में प्रोटीन संश्लेषण को बढ़ाने, और शरीर के सामान्य विकास में सहायता करने का काम करता है।
  • इसके बिना बच्चे का विकास रुक सकता है और शरीर का सामान्य आकार नहीं बन पाता।

(iii) विषमपोषी पोषण।
Ans.
विषमपोषी पोषण (Heterotrophic Nutrition):

  • विषमपोषी पोषण वह प्रकार है जिसमें जीव स्वयं भोजन नहीं बनाते, बल्कि अन्य जीवों या उनके पदार्थों से पोषण प्राप्त करते हैं।
  • इस प्रकार के जीव भोजन के लिए किसी और जीव पर निर्भर रहते हैं।
  • उदाहरण:
    • प्राणी (Animals): शाकाहारी और मांसाहारी दोनों
    • कवक (Fungi): जैसे खमीर और मशरूम
    • सूक्ष्मजीव (Microorganisms): कुछ बैक्टीरिया और प्रोटोजोआ
  • यह पोषण जीवों को ऊर्जा और जीवन के लिए आवश्यक पदार्थ प्राप्त करने में मदद करता है।

मेरा नाम सुनीत कुमार सिंह है। मैं कुशीनगर, उत्तर प्रदेश का निवासी हूँ। मैं एक इलेक्ट्रिकल इंजीनियर हूं।

Leave a Comment